公眾投注傾向
通過投注額及賠率變化趨勢計算公眾傾向百分比,比率越大代表公眾較為傾向買該隊伍。可以在這些頁面找到:首頁、每場賠率變化頁、賽果。在賽果頁面更顯示了公眾傾向是否贏(或贏半),若是則會有 ✓ 顯示。注意:這個不是預測,並沒有任何預測成分,只是顯示了公眾購買讓球盤的百分比,請自行判斷是否對你有用。
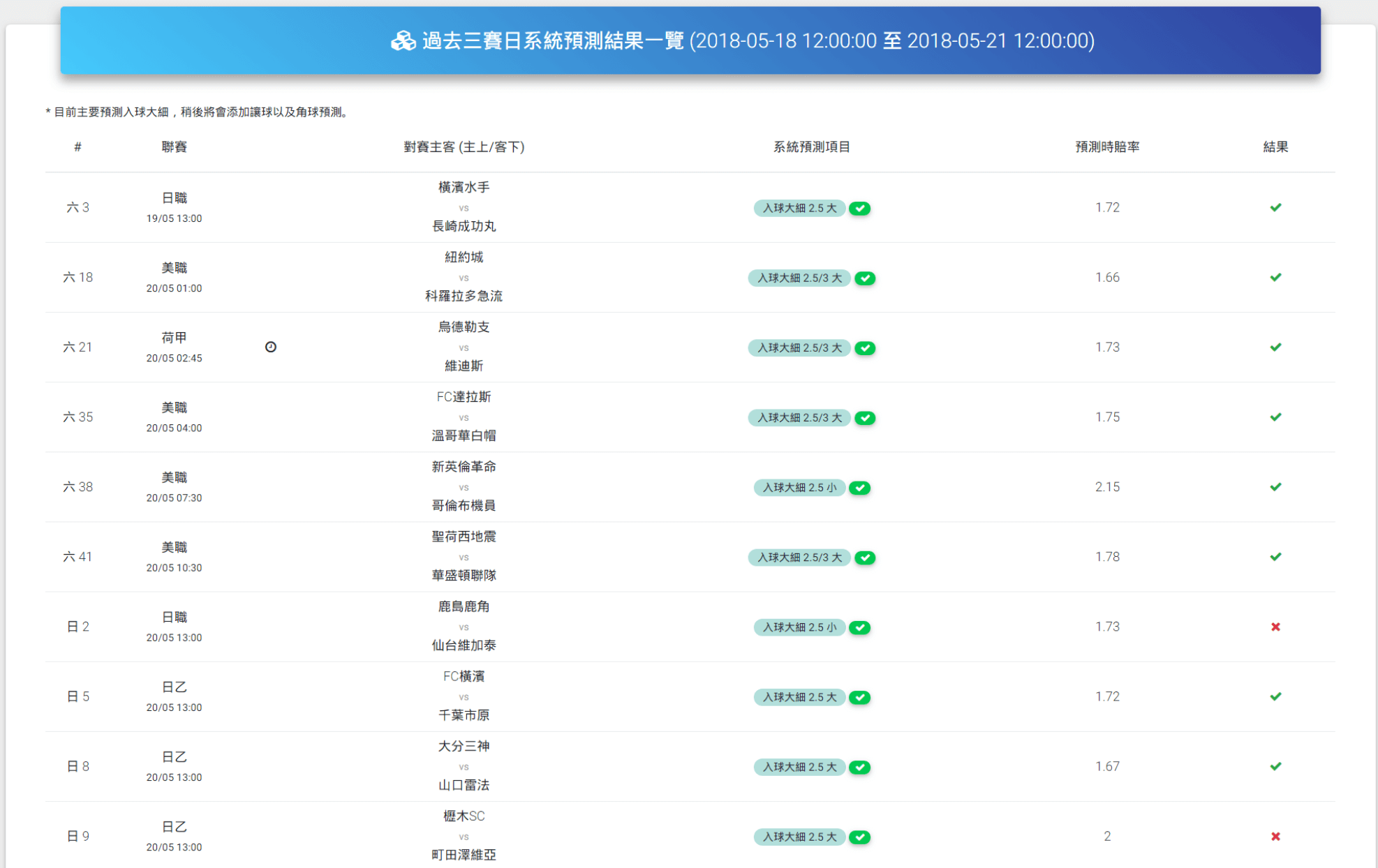
預測模型雛形
根據大數據趨勢模型延伸建立了數個預測模型,預測模型全由電腦進行預測後直接發佈在網站,系統不存在人為因素影響或修改結果,所有動作都是系統自動操作。所有用戶註冊後每日可以免費獲得三場預測,直至另行通知。測試於一星期後因需升級模型而結束。


















